当前位置: 首页 >> 用外挂电池加续航 RIVIAN申请多项专利
用外挂电池加续航 RIVIAN申请多项专利
2019/2/27 9:04:08

日前,有海外媒体报道称,美国新锐电动车企业RIVIAN已经为旗下电动皮卡R1T申请了多项专利,以提升该车型的实用性。在申请的专利中,包括一种新型可拆卸辅助电池,可使该车拥有更多的续航里程。

 

电池,外挂电池
 

 

『RIVIAN R1T(参数|询价)』

电动车型受动力电池载电量的制约,续航里程比较有限,所以为了能够让车辆拥更长的续航能力,而扩充载电量是比较有效的方法之一,比如在车上加装辅助电池。据了解,RIVIAN为其电动皮卡R1T就申请了这样的专利,为了让这款车的车主可以更轻松的到达目的地。

 

电池,外挂电池
 

 

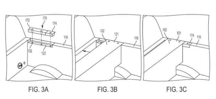
该专利充分利用了皮卡车型的装载能力,将辅助电池安装于车身后部的车斗内,并在靠近车厢的一侧设计有线缆接口和冷却液管路接口,使加装的电池与车辆本身的动力电池冷却系统连通,同样使用液冷系统进行温控。

 

电池,外挂电池
 

 

由于辅助电池的重量较重,在该专利的描述中,电池的安装需要通过小型吊车、叉车或绞盘等起重设备从车辆上方吊入安装位,再使用螺栓将其固定。在安装辅助电池后,你的车斗会减少一部分的空间,而且由于整车质量的增加,会使车辆的动力受到一定影响。不过,由于该车的动力系统本身就有着强悍的性能,其综合最大功率为800马力,峰值扭矩更是达到了惊人的14000牛•米,所以损失掉的动力也并不会影响车辆的正常使用。

 

电池,外挂电池
 

 

除辅助电池的专利外,该品牌为了提升R1T在不同使用场景下的实用性,还申请了多种车斗及车顶的外接装置的专利,能使车辆可以应对露营、载货等不同需求。

关于我们 | 联系我们 | 招贤纳士 | 隐私权声明 | 网址律师
Copyright © 2001 - 2026 SINOCARS Inc. All Rights Reserved
版权所有:新诺视线传播机构  京ICP备05020129号-5 公安备案 11011502002340